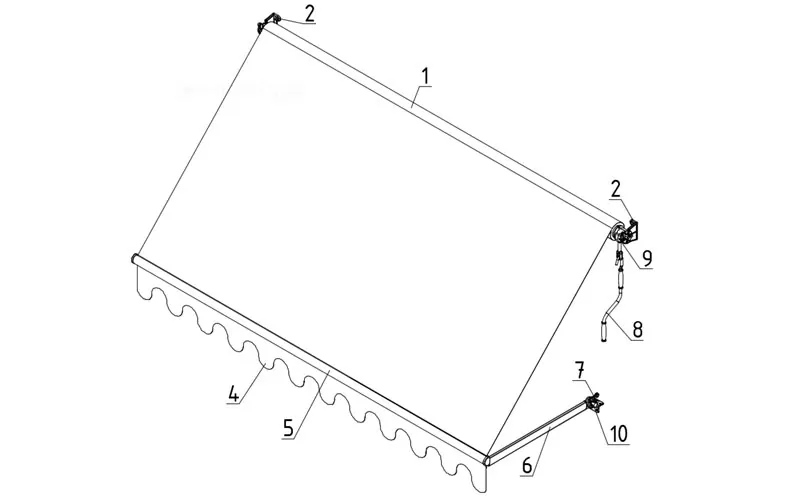
Maßanleitung für die Balkonmarkise Italia Poręczowa Selt
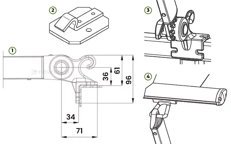
Technische Daten der Italia-Balkonmarkise: Um die Italia-Markise zu zitieren, müssen Sie die Gesamtbreite „S“ und die Ausladung „W“ angeben „ (ergibt sich aus der Länge der Arme, die immer 70cm beträgt). Die erforderlichen Maße werden in cm angegeben. Der Produktionsstandard sieht eine Breitentoleranz von -+2cm vor. Die Stoffmenge, die auf dem Wickelrohr der Markise aufgewickelt wird, beträgt ca. 219 cm. Die Höhe des Aufbaus hängt vom gewählten Modell ab und hat keinen Einfluss auf den Preis. Die Anleitung zum Ausmessen der Balkonmarkise finden Sie im nebenstehenden Bild.
VERFÜGBARE ABMESSUNGEN:
Breite S: von 110 bis 500 cm
Reichweite: 70 cm
Mantellänge T: bis 219cm
(Stoff am Balken ohne Volant)






















































